中央人民政府
云南省人民政府
临沧市人民政府
本站支持IPv6/IPv4
无障碍浏览
长者模式
搜索
首页
县政府
县政府领导
县政府机构
县政府常务会议
县政府工作报告
政务公开
政府信息公开指南
政策文件
政策解读
政府信息公开年报
规范性文件
政务服务
个人办事
法人办事
互动交流
网上信访
书记信息箱
县长信箱
人民意见征集
民意征集
建言献策
问卷调查
边陲镇康
镇康概况
自然地理
历史沿革
阿数瑟文化
社会发展
投资旅游
图说镇康
乡镇概况
首页
>
时政要闻
>
通知通告
时政要闻
镇康时政
部门动态
乡镇风采
通知通告
要闻动态
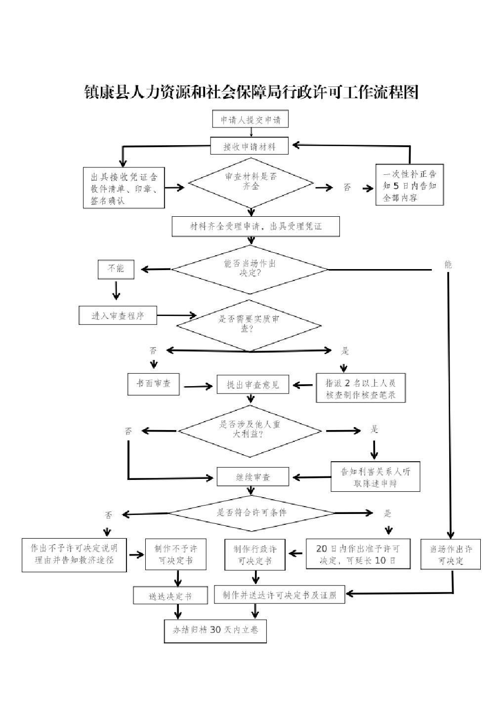
镇康县人力资源和社会保障局行政执法工作流程图(行政检查、处罚、许可)
日期:2026-03-06 17:11
作者:
来源:县人力资源和社会保障局
浏览:23次
字体:【
大
中
小
】
扫一扫在手机打开当前页面
分享:
打印
关闭
上一篇:无
下一篇:镇康县统计局行政检查工作流程图